| নং | শিরোনাম | সেবার ধাপ | কার্যকলাপ |
|---|---|---|---|
| | |||
| ১ | ফসলের উপকারী পোকামাকড় | দেখুন | |
| ২ | মাটির স্বাস্থ্য ব্যবস্থাপনার প্রসেস ম্যাপ | দেখুন | |
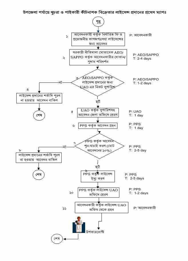
| ৩ | কীটনাশক বিক্রেতার লাইসেন্স প্রাপ্তির প্রসেস ম্যাপ | দেখুন | |
| ৪ | ফসল ও বালাই ব্যবস্থাপনার প্রসেস ম্যাপ | দেখুন | |
| ৫ | সার ডিলার | দেখুন | |
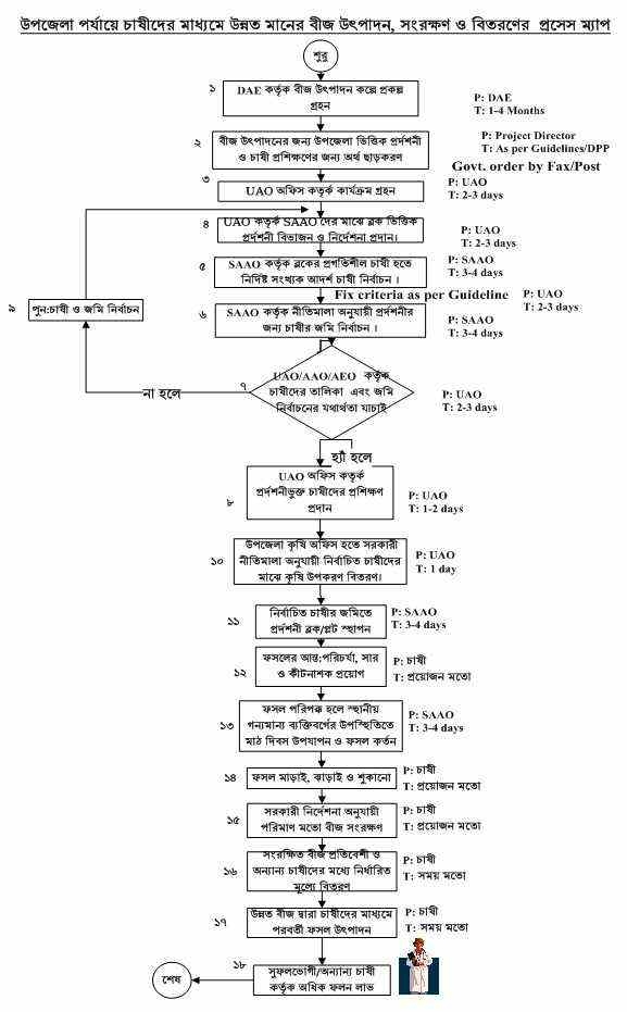
| ৬ | উন্নতমানের বীজ উৎপাদন,সংরক্ষন ও বিতরণের প্রসেস ম্যাপ | দেখুন | |
| ৭ | কৃষি উপকরণ সহায়তা বিতরনের প্রসেস ম্যাপ | দেখুন | |
| ৮ | কৃষি প্রযুক্তি সংক্রান্ত প্রসেস ম্যাপ | দেখুন | |
| ৯ | ফসলের জাত | দেখুন |